高级检索

PQFP器件焊点质量控制与可靠性

Quality control and reliability of PQFP device solder joints

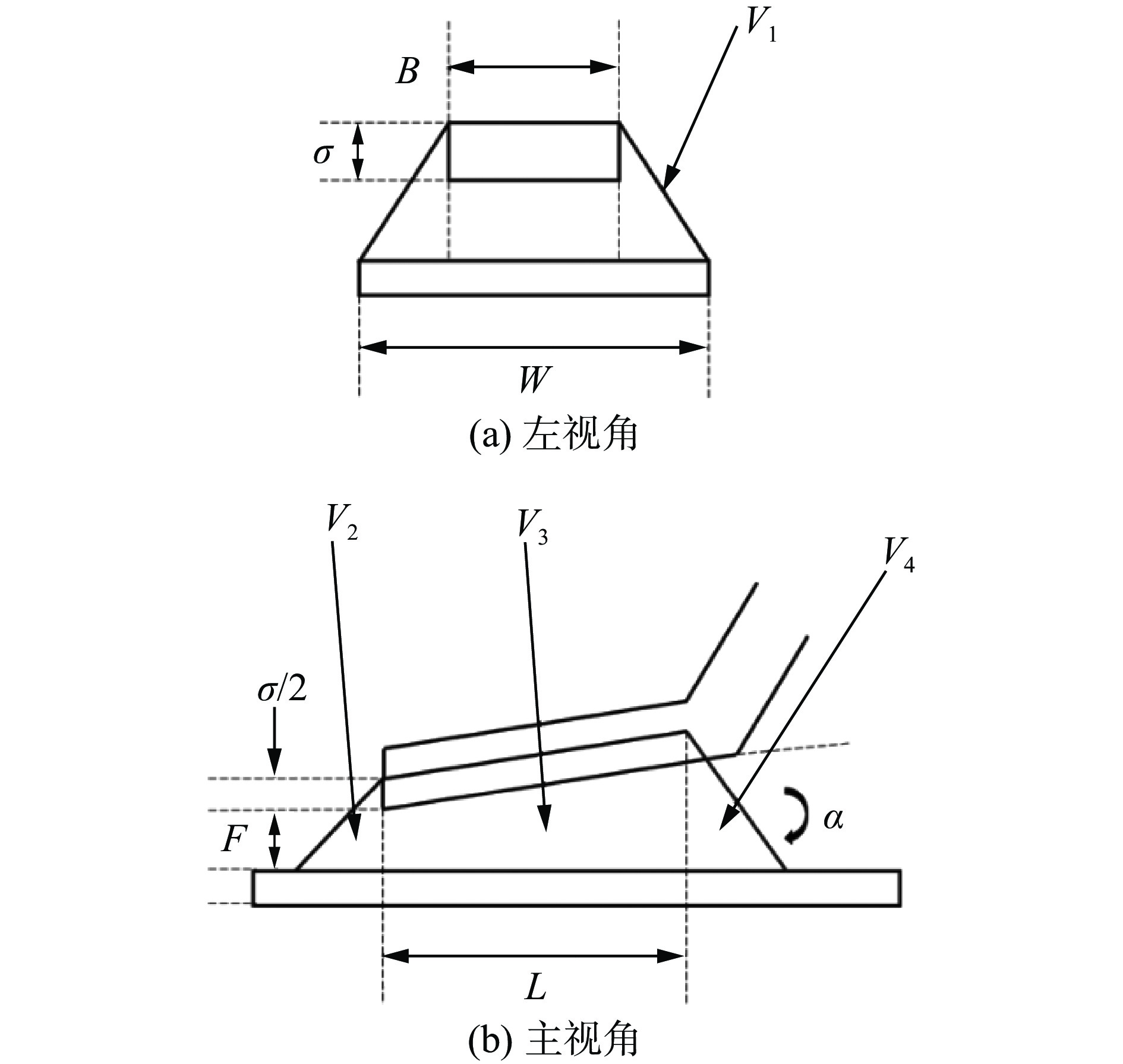
  • 摘要: 针对航空航天领域PQFP(plastic quad flat package)封装器件长期贮存可靠性问题,文中围绕焊点工艺参数优化及界面金属间化合物(interfacial intermetallic compounds,IMCs)演变规律展开系统性研究.通过光镜检测、力学性能测试与扫描电镜分析,揭示了焊缝高度与钎料量对焊点质量的影响机制.结果表明,钎料量增加使润湿高度提升(0.050 ~ 0.099 3 mm3为理论最佳范围),而焊缝高度增大则削弱润湿效果,0.12 mm钢网与0.05 mm焊缝高度组合可实现桥联率最低、抗拉强度最优的焊接质量.通过高温加速老化试验发现,Cu焊盘侧IMC由Cu6Sn5/Cu3Sn构成且呈扇贝状向平直状演变,Ni阻挡层使引脚侧(Cu,Ni)6Sn5层厚度降低.基于Fick扩散定律建立的IMC生长动力学模型表明,双侧IMC层厚符合抛物线生长规律,活化能分别为20.67 kJ/mol(Cu侧)和52.79 kJ/mol(Ni侧).以IMC临界厚度3.5 μm为失效判据,推算出器件焊点在23 ℃贮存寿命可达27.5年,研究成果为航天电子装备的长寿命可靠性设计与工艺优化提供了理论依据和数据支撑.

     

    Abstract: In view of the long-term storage reliability issues of PQFP devices in aerospace applications, the optimization of solder joint process parameters and the evolution mechanism of IMCs were systematically investigated. Through optical microscopy, mechanical property testing, and scanning electron microscopy analysis, the influence mechanisms of weld height and soldering alloy volume on solder joint quality were revealed. The results show that increasing soldering alloy volume enhances wetting height (the theoretical optimal range is 0.05 ~ 0.099 3 mm3), while greater weld height diminishes wetting effects. The combination of a 0.12 mm steel mesh and 0.05 mm weld height achieves the lowest bridging rate and optimal tensile strength. High-temperature accelerated aging experiments demonstrate that Cu6Sn5/Cu3Sn IMCs on the Cu bonding pad side evolve from a scalloped to planar morphology, while the Ni barrier layer reduces the thickness of (Cu,Ni)6Sn5 IMCs on the lead side. A kinetics model for IMC growth, based on Fick’s diffusion law, indicates parabolic growth behavior for bilateral IMC layers, with activation energies of 20.67 kJ/mol (Cu side) and 52.79 kJ/mol (Ni side). By using a critical IMC thickness of 3.5 μm as the failure criterion, the estimated storage life of solder joints at 23 ℃ reaches 27.5 years. This research provides theoretical foundations and data support for the long-term reliability design and process optimization of aerospace electronic systems.

     

/

返回文章
返回