高级检索

铝合金点焊电极寿命改善技术的研究进展

Research progress on the improvement of electrode lifespan of spot welding for aluminum alloy

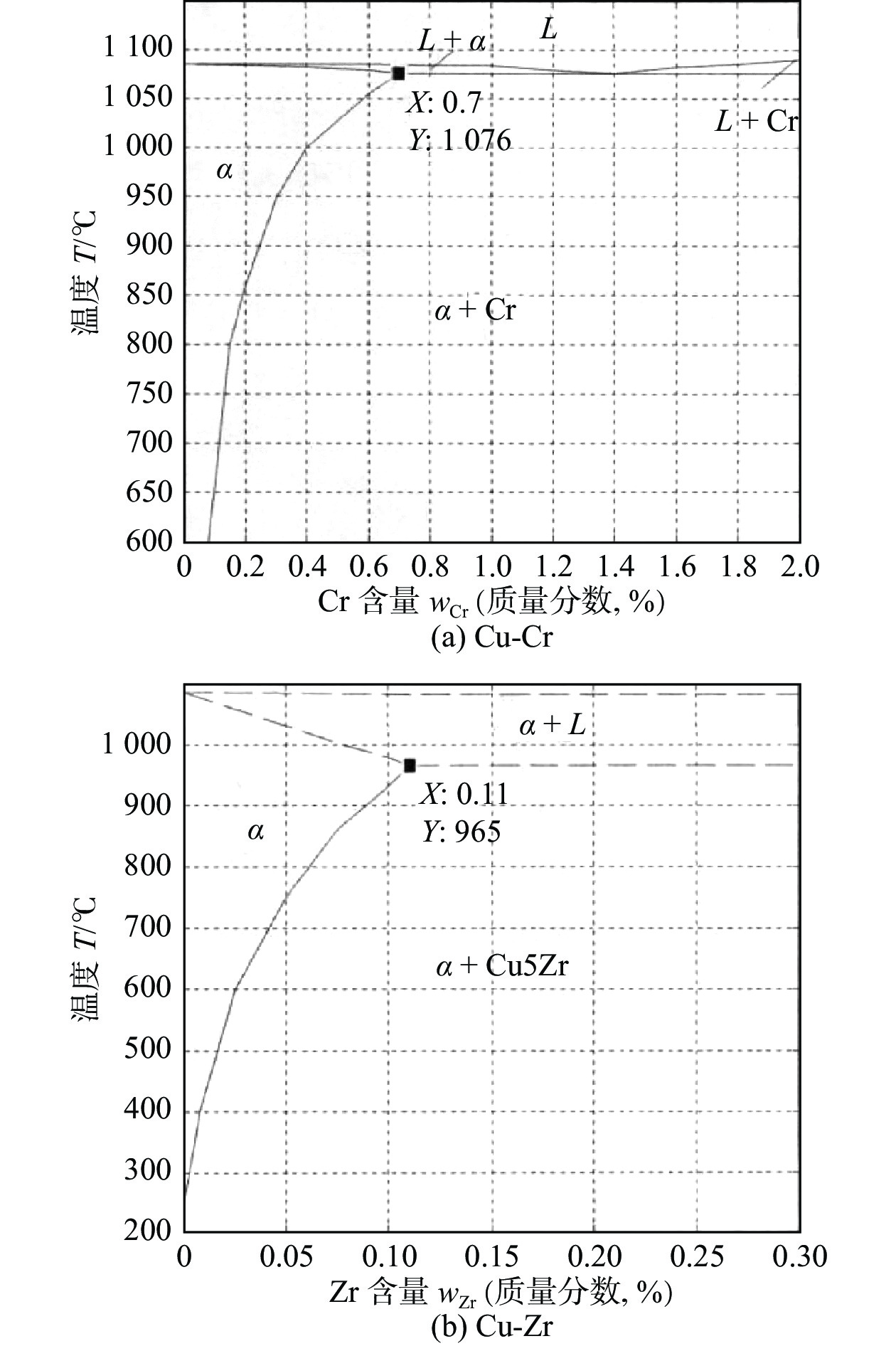
  • 摘要: 铝合金的电阻点焊(RSW)是新能源汽车生产中关键的焊接工艺之一,其应用广泛且重要性显著. 然而,铝板RSW工艺主要痛点是电极磨损严重、修磨频次高,不仅导致制造成本上升,还影响了生产节拍,成为制约生产效率的重要因素. 由于铝合金的高热导率和高导电性,RSW时通常采用大电流、短时间参数,使得电极在高温高压作用下烧损严重. 此外,铝板表面的高熔点氧化铝薄膜不利于电极和铝板的良好结合. 因此,减少铝点焊电极磨损,延长电极使用寿命是亟需解决的问题. 文中对铝合金RSW电极的失效形式及其失效机理进行了综述,并从电极材料、电极表面改性、电极结构设计、铝板表面处理和焊接工艺等角度,系统探讨了国内外提高铝合金RSW电极寿命的技术手段,对相关生产和使用者有重要指导和参考作用.

     

    Abstract: Resistance spot welding (RSW) of aluminum alloys is one of the critical welding processes in the manufacturing of new energy vehicles, with widespread applications and significant importance. However, severe electrode wear and a high frequency of reconditioning are the main challenges for RSW of aluminum sheets. These issues not only lead to increased manufacturing costs but also affect production efficiency, becoming a major factor constraining production pace. Due to the high thermal conductivity and good electrical conductivity of aluminum alloys, RSW of aluminum typically employs high current and short-time, which cause severe electrode burning under high temperature and pressure. Additionally, the high-melting-point alumina film on the surface of the aluminum sheet is detrimental to the optimal bonding between the electrode and the aluminum sheet. Therefore, reducing electrode wear in aluminum RSW and extending the service life of electrode caps are urgent problems requiring solutions. The failure modes and mechanisms of electrodes in aluminum RSW are reviewed. The technical approaches to improve the lifespan of aluminum RSW electrodes are systematically discussed from the perspectives of electrode materials, electrode surface modification, electrode structure design, aluminum sheet surface treatment, and welding processes. It provides important guidance and reference for related producers and users.

     

/

返回文章
返回