高级检索

7075-T651铝合金摩擦塞补焊接头的组织与性能

Microstructure and properties of 7075-T651 aluminum alloy friction plug welding joint

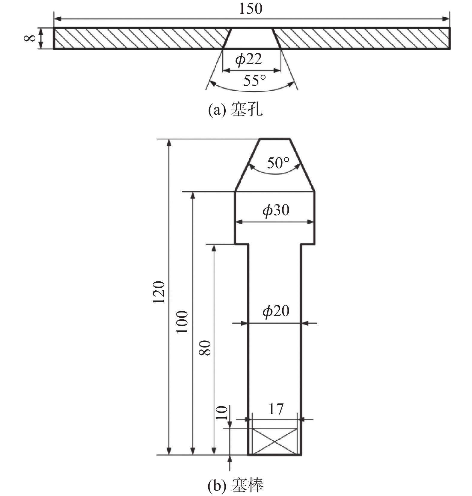
  • 摘要: 以2219-T87铝合金为塞棒材料,采用摩擦塞补焊工艺对8 mm厚7075-T651铝合金进行焊接,并对不同工艺参数下接头的成形、微观组织、力学性能等进行观察和测试.结果表明,采用优化的工艺参数可以获得无缺陷的接头,塞棒和母材摩擦界面形成了等轴晶.根据组织形貌可以把摩擦塞补焊接头分成再结晶区、热力影响区、塞棒热力影响区、热影响区、塞棒热影响区和母材6个区,热力影响区组织发生了变形和长大以及沉淀相的溶解和粗化,局部发生了软化,尤其是塞棒热力影响区硬度值最低,在90 ~ 95 HV左右,拉伸试验时无缺陷的接头断裂位置在塞棒区,断裂模式为韧性特征. 摩擦塞补焊接头抗拉强度最高可达343 MPa,断后伸长率最高达7.0%,分别达到母材的63.8%和77.8%.

     

    Abstract: Friction plug welding (FPW) for 8 mm thickness 7075-T651 aluminum alloy sheets were carried out using 2219-T87 aluminum alloy as plug material, and the formation and microstructure characteristics of the FPW joints obtained by using different process were observed, and the properties were tested. The results show that defect-free joints can be obtained with optimized parameters, and equiaxed grains were formed at the friction interface between the plug and base material. According to the structure and morphology, the FPW joint can be divided into 6 zones: recrystallization zone, thermo-mechanical affected zone, plug thermo-mechanical affected zone, heat affected zone, plug heat affected zone and base metal. The microstructure of the thermo-mechanical affected zone grew and deformed, with the precipitation phase dissolved and coarsened. Local softening also occurred. In particular, the hardness value of the plug heat affected zone reached the lowest at about 90 − 95 HV. During the tensile test, fracture of the defect-free FPW joint happened at the plug center, with ductile features in terms of fracture mode. The maximum tensile strength and elongation of the FPW joints reached 343 MPa and 7.0%, reaching 63.8% and 77.8% of that of the base metal, respectively.

     

/

返回文章
返回