高级检索

X80M管线钢铜衬垫外根焊接头冷裂敏感性分析

Cold crack susceptibility analysis of the copper backing outside root welding joints of X80M pipeline steel

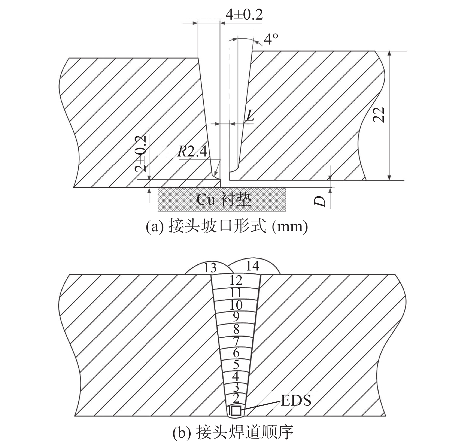
  • 摘要: 开展了不同装配条件下大厚度、大管径X80M管线钢铜衬垫外根焊接头的冷裂敏感性分析. 采用碳当量法和应力场模拟等方法,研究了不同装配条件对接头冷裂倾向的影响. 结果表明,接头顶部盖面层的热影响区和底部根焊层是X80M管线钢焊接接头的最薄弱区域,冷裂倾向最大. 对口间隙从0 ~ 0.5 mm增大至0.6 ~ 1 mm后,焊缝区根焊层的相对碳当量提高16.6%,增大了冷裂倾向. 错边量提高使得接头盖面层热影响区淬硬性增大,冷裂敏感性增大. 错边量和对口间隙增加均会导致焊后残余拉应力的进一步增大,错边量增大也会导致接头错边区域存在应力集中,错边量从0 mm增加为3 mm,其焊缝区根焊层凹角处残余应力峰值增加52.4%. 因此,X80M管线钢电弧焊接过程需尽量减小对口间隙和错边量以降低冷裂倾向.

     

    Abstract: The cold crack sensitivity analysis of the copper backing outside root welding joints of X80M pipeline steel with large thickness and diameter under different assembly conditions was carried out. The effect of different assembly conditions on the cold cracking tendency of the joint was studied using the carbon equivalent method and stress field simulation. According to the results, the heat affected zone (HAZ) at the top cover layer and the root weld layer zone at the bottom of the X80M pipe steel weld joints are the weakest areas, which have the greatest cold crack tendency. When the butt gap is increased from 0 − 0.5 mm to 0.6 − 1 mm, the relative carbon equivalent of the root weld layer in the weld zone is also increased by 16.6%, which increases the cold cracking tendency. The increase in misalignment increases the hardenability of the heat affected zone of the joint cover layer and increases the susceptibility to cold cracking. The increase in the misalignment and the butt gap will lead to a further increase in the residual tensile stress after welding, and the increase in the misalignment will also lead to stress concentrations in the misalignment area of the joint, and the increase in the misalignment from 0 mm to 3 mm will result in a 52.4% increase in the peak residual stress at the concave corner of the root weld layer in the weld zone. Therefore, the X80M pipeline steel arc welding process needs to minimize the butt gap and the amount of misalignment to reduce the tendency of cold cracking.

     

/

返回文章
返回