高级检索

基于单边缺口拉伸试样的环缝接头阻力曲线确定方法对比

Comparative study on determination methods of resistance curves of circular joints based on single edge notched tensile specimens

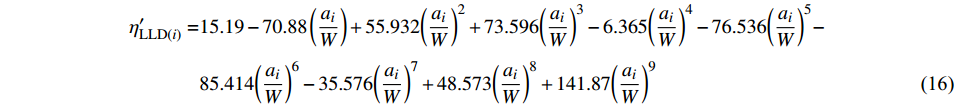
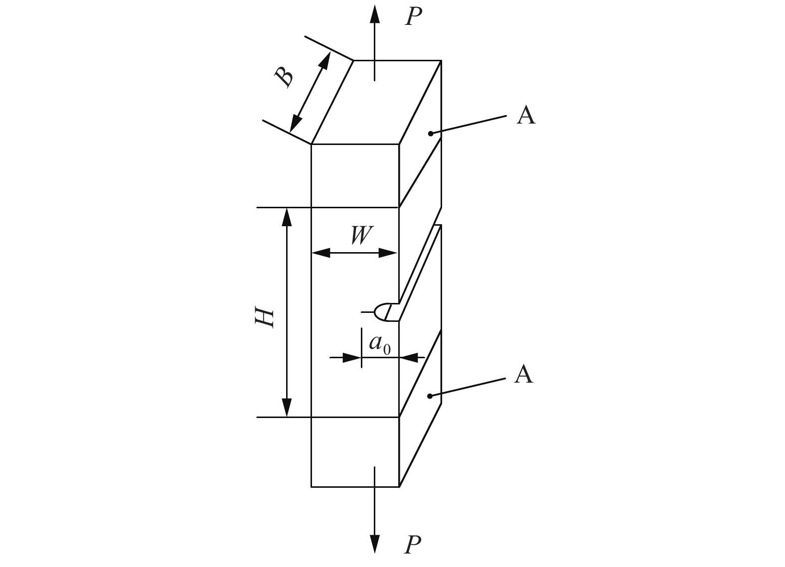
  • 摘要: 近些年单边缺口拉伸(SENT)试样被用于管道基于应变的设计与评估,并且相关机构发展了一些断裂韧性的测试标准,包括DNVGL-RP-F108,CANMET,BMT,USP以及英国国家标准BS 8571等. 但相关测试标准之间在测试原理、测试方法以及断裂韧性计算方法上还存在较大差异,有必要对它们之间的区别进行进一步的研究. 文中以API X80管线钢环缝接头为研究对象,对夹持式单边缺口拉伸(SENT)试样的裂纹尖端张开位移(δ)和J积分阻力曲线不同确定方法进行了对比. 结果表明,通过拟合计算J-R曲线、δ-R曲线以及初始断裂韧性值J0.2δ0.2,给出了SENT试样断裂韧性阻力曲线计算的推荐公式.

     

    Abstract: In recent years, single edge notched tension (SENT) specimens have been used for strain-based design and evaluation of pipelines, and several fracture toughness testing standards have been developed, including DNVGL-RP-F108, CANMET, BMT, USP and BS 8571. However, there are still great differences between relevant test standards in test principles, test methods and calculation methods of fracture toughness. It is necessary to further study the differences between them. Therefore, different determination methods of crack tip opening displacement (δ) and J-integral resistance curves for clamped SENT specimens of API X80 pipeline girth weld joints were compared. By fitting the J-R curves, δ-R curves and initial fracture toughness values J0.2 and δ0.2, the recommended equations for the fracture toughness resistance curve of SENT specimens were given.

     

/

返回文章
返回